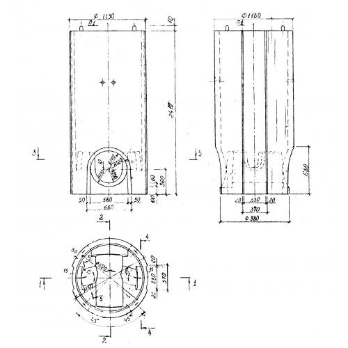
КЛ 10 рабочие камеры канализационных колодцев

Чертеж изделия:
Характеристики изделия:
ПараметрЗначение
длина1160 мм
ширина1160 мм
высота2410 мм
масса2100 кг
нормативный документАльбом РК 2201-82

КЛ 10  Рабочие камеры канализационных колодцев Альбом РК 2201-82.