ЛШ 5

Чертеж изделия:
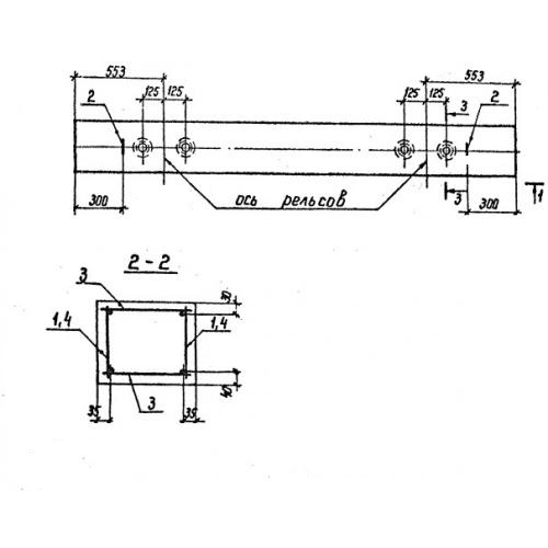
Характеристики изделия:
ПараметрЗначение
длина2500 мм
ширина250 мм
высота150 мм
масса235 кг
нормативный документГОСТ 21174-75

ЛШ 5 Шпалы железобетонные ГОСТ 21174-75.