С 40.2

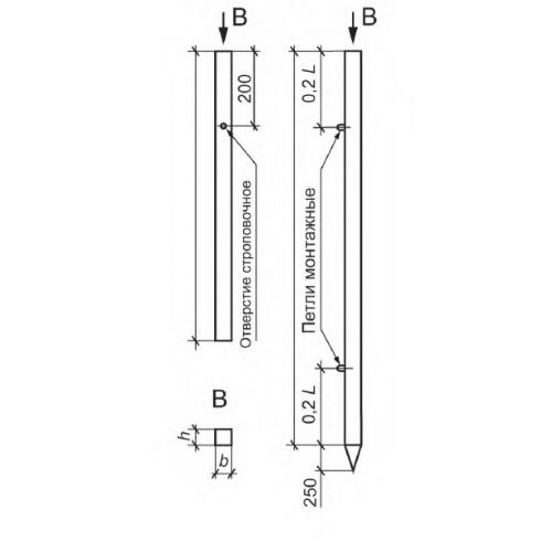
Чертеж изделия:
Характеристики изделия:
ПараметрЗначение
длина4000 мм
ширина200 мм
высота200 мм
масса400 кг
нормативный документГОСТ 24155-2016

С 40.2 Стойки по ГОСТ 24155-2016.