1КНО 4.33

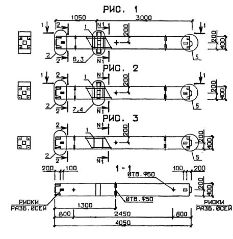
Чертеж изделия:
Характеристики изделия:
ПараметрЗначение
длина4050 мм
ширина400 мм
высота550 мм
масса2010 кг
нормативный документСерия 1.020.1-3пв

1КНО 4.33  Колонны нижние одноконсольные Серия 1.020.1-3пв.