3КНО 42.42

Чертеж изделия:
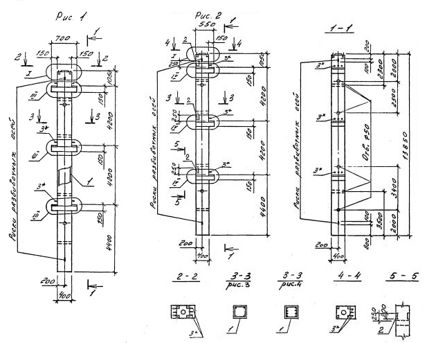
Характеристики изделия:
ПараметрЗначение
длина13850 мм
ширина400 мм
высота550 мм
масса5600 кг
нормативный документСерия 1.020.1-4

3КНО 42.42    Колонны одноконсольные для нижних этажей (Серия 1.020.1-4).

Маркировка с учетом диаметра угловых и промежуточных стержней арматуры, в мм. и марки бетона:

3КНО 42.42-3.32.00

3КНО 42.42-4.32.00

3КНО 42.42-3.36.00

3КНО 42.42-3.40.00 

3КНО 42.42-4.40.00

3КНО 42.42-5.32.28