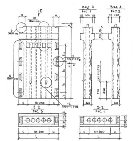
1ВД 26-20
Характеристики изделия:
| Параметр | Значение |
|---|---|
| длина | 2560 мм |
| ширина | 405 мм |
| высота | 1970 мм |
| масса | 2430 кг |
| нормативный документ | Серия 1.034.1-1 |
Цена:
Рассчитать стоимость1ВД 26-20 Вентиляционные блоки-диафрагмы жесткости с одной консолью (Серия 1.034.1-1).