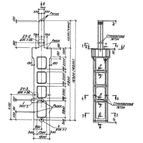
КД 156

Чертеж изделия:
Характеристики изделия:
ПараметрЗначение
длина16300 мм
ширина500 мм
высота2200 мм
вес18700 кг
серия1.424.1-9

КД 156 Колонны двухветвевые для каркасов зданий, оборудованных электрическими опорными подвесными кранами, или без них по серии  1.424.1-9.