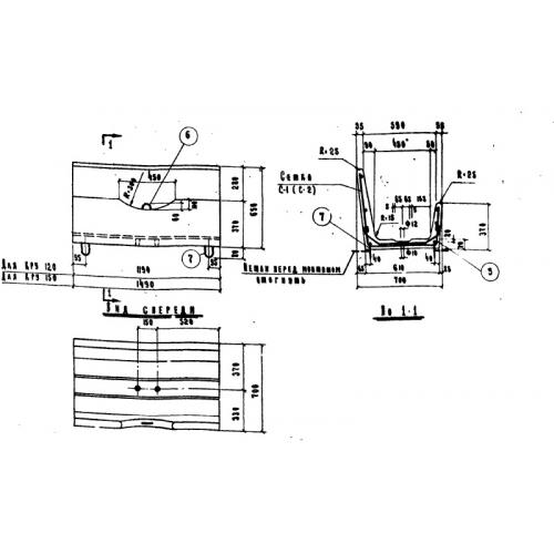
КРУ 120

Чертеж изделия:
Характеристики изделия:
ПараметрЗначение
длина1190 мм
ширина700 мм
высота650 мм
вес300 кг
серия2.800-2

КРУ 120 Кормушки для крупного рогатого скота по серии 2.800-2.