Лу 31/2 лотки угловые

Чертеж изделия:
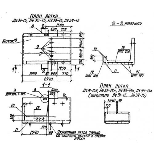
Характеристики изделия:
ПараметрЗначение
длина2970 мм
ширина3380 мм
высота680 мм
масса5480 кг
нормативный документСерия 3.006.1-2/87

Лу 31/2  Лотки теплотрасс угловые Серия 3.006.1-2/87.