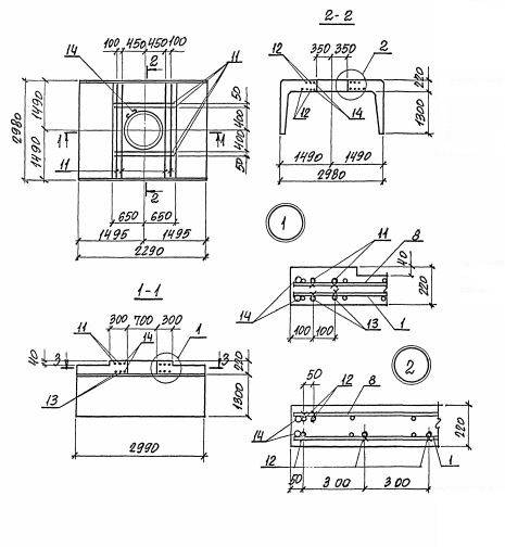
ЛКО 300.300.150 лотки
Характеристики изделия:
| Параметр | Значение |
|---|---|
| длина | 2990 мм |
| ширина | 2980 мм |
| высота | 1480 мм |
| масса | 7376 кг |
| нормативный документ | Серия 3.006.1-8 |
Цена:
Рассчитать стоимостьЛКО 300.300.150 Лотки каналов Серия с отверстием 3.006.1-8.
| Параметр | Значение |
|---|---|
| длина | 2990 мм |
| ширина | 2980 мм |
| высота | 1480 мм |
| масса | 7376 кг |
| нормативный документ | Серия 3.006.1-8 |
ЛКО 300.300.150 Лотки каналов Серия с отверстием 3.006.1-8.