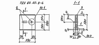
ПДУ 60.60.8 плиты днища

Чертеж изделия:
Характеристики изделия:
ПараметрЗначение
длина580 мм
ширина580 мм
высота80 мм
масса67 кг
нормативный документСерия 3.006.1-8

ПДУ 60.60.8  Плиты днища каналов угловые Серия 3.006.1-8.