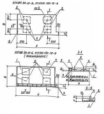
ПТУ 180.90.10 плиты лотков

Чертеж изделия:
Характеристики изделия:
ПараметрЗначение
длина1780 мм
ширина880 мм
высота100 мм
масса367 кг
нормативный документСерия 3.006.1-8

ПТУ  180.90.10 Плиты перекрытия каналов угловые Серия 3.006.1-8.