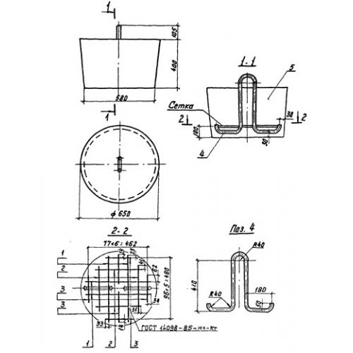
АЦ 1

Чертеж изделия:
Характеристики изделия:
ПараметрЗначение
длина650 мм
ширина650 мм
высота400 мм
масса300 кг
нормативный документСерия 3.407.1-143

АЦ 1  Анкер цилиндрический Серия 3.407.1-143.