Р

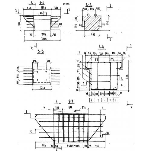
Чертеж изделия:
Характеристики изделия:
ПараметрЗначение
длина2700 мм
ширина1400 мм
высота1100 мм
вес4300 кг
серия3.503-49

Р Промежуточные блоки ригеля для пролетных строений 33 м по серии 3.503-49.