Н

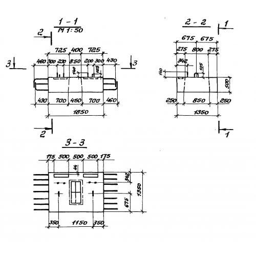
Чертеж изделия:
Характеристики изделия:
ПараметрЗначение
длина2770 мм
ширина1350 мм
высота500 мм
вес2700 кг
серия3.503.1-53

Н Блоки насадок по серии 3.503.1-53.