Д 4
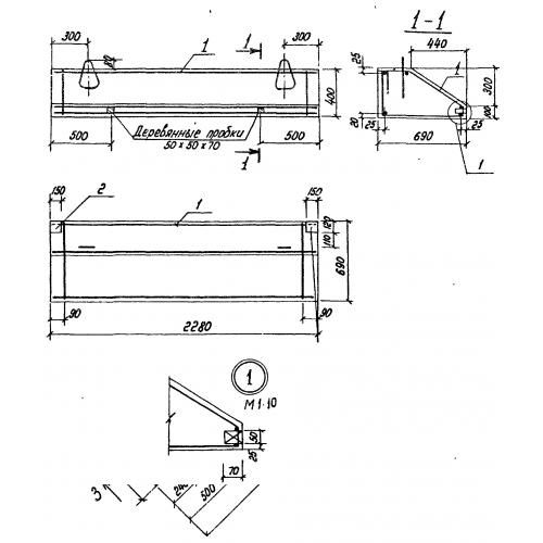
Характеристики изделия:
| Параметр | Значение |
|---|---|
| длина | 2280 мм |
| ширина | 690 мм |
| высота | 400 мм |
| вес | 1050 кг |
| серия | 3.702-1/79 |
Цена:
Рассчитать стоимостьД 4 Балки днища по серии 3.702-1/79.
| Параметр | Значение |
|---|---|
| длина | 2280 мм |
| ширина | 690 мм |
| высота | 400 мм |
| вес | 1050 кг |
| серия | 3.702-1/79 |
Д 4 Балки днища по серии 3.702-1/79.
