П 23-21

Чертеж изделия:
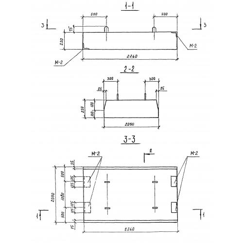
Характеристики изделия:
ПараметрЗначение
длина2260 мм
ширина2080 мм
высота220 мм
масса2580 кг
нормативный документСерия 3.903 КЛ-13

П 23-21  Плиты перекрытия по Серии 3.903 КЛ-13.