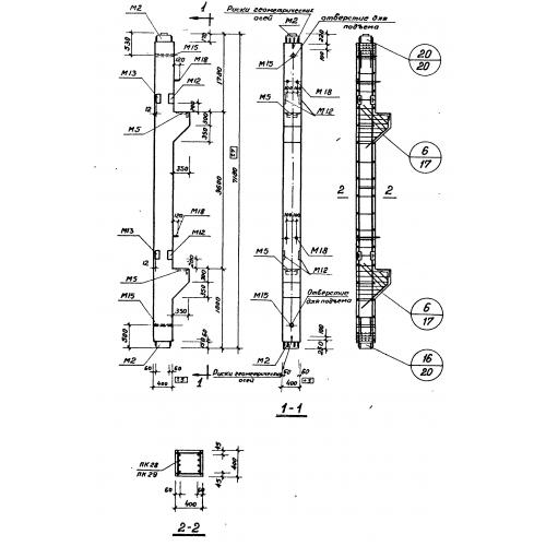
К 9
Характеристики изделия:
| Параметр | Значение |
|---|---|
| длина | 7180 мм |
| ширина | 400 мм |
| высота | 400 мм |
| вес | 3150 мм |
| серия | ИИ 22-1 |
Цена:
Рассчитать стоимостьК 9 Колонны по серии ИИ 22-1.
| Параметр | Значение |
|---|---|
| длина | 7180 мм |
| ширина | 400 мм |
| высота | 400 мм |
| вес | 3150 мм |
| серия | ИИ 22-1 |
К 9 Колонны по серии ИИ 22-1.
