СП 6

Чертеж изделия:
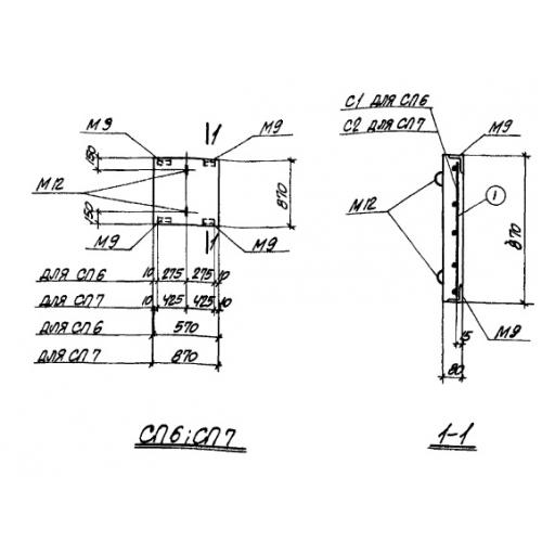
Характеристики изделия:
ПараметрЗначение
длина570 мм
ширина870 мм
высота80 мм
вес100 кг
серияТП 905-7

СП 6 Панели стеновые по проекту ТП 905-7.